Page 727 - 21-工艺气体元件(特气阀)
P. 727

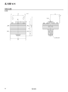
IL100        系列




                外形尺寸图
                IL100

                                       76             2×ø9
                                                                                                        50
                                       57
                                                                                                                  2
                                                                                          Rc1/4
                                       IN





                                                              70
                     EXH                                EXH     103.5
                                                            80

                    SUP                                 OUT

                                                              23



                                                                                                        2×Rc1/4, 3/8
                                       82
                                       ø86



















































                55
   722   723   724   725   726   727   728   729   730   731   732